SLES248A May 2009 – March 2015 PCM1795
PRODUCTION DATA.
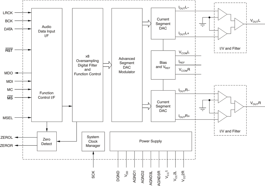
The PCM1795 device is a monolithic CMOS integrated circuit that includes stereo digital-to-analog converters (DACs) and support circuitry in a small SSOP-28 package. The data converters use TI’s advanced segment DAC architecture to achieve excellent dynamic performance and improved tolerance to clock jitter. The PCM1795 provides balanced current outputs, letting the user optimize analog performance externally. The PCM1795 accepts pulse code modulation (PCM) and direct stream digital (DSD) audio data formats, thus providing an easy interface to audio digital signal processors (DSPs) and decoder chips. The PCM1795 device also interfaces with external digital filter devices such as the DF1704, DF1706, and the PMD200 from Pacific Microsonics™. Sampling rates up to 200 kHz are supported. A full set of user-programmable functions is accessible through an SPI or I2C serial control port that supports register write and readback functions. The PCM1795 device also supports the time-division-multiplexed (TDM) command and audio (TDMCA) data format.
| PART NUMBER | PACKAGE | BODY SIZE (NOM) |
|---|---|---|
| PCM1795 | SSOP (28) | 10.20 mm × 5.30 mm |

Changes from * Revision (May 2009) to A Revision